创新型可调式输液港蝶翼针穿刺保护套件的临床应用效果
作者:
通讯作者:
作者单位:

中南大学湘雅医院 血液科,湖南 长沙 410008

作者简介:

刘琼,中南大学湘雅医院主管护师,主要从事静脉治疗、造血干细胞移植护理方面的研究。

基金项目:

中国抗癌协会-恒瑞TPO受体激动剂研究基金资助项目(CORP-253)。


Clinical application effect of an innovative adjustable butterfly needle puncture protection kit for TIVAP
Author:
Affiliation:

Department of Hematology, Xiangya Hospital, Central South University, Changsha 410008, China

Fund Project:

  • 摘要
  • |
  • 图/表
  • |
  • 访问统计
  • |
  • 参考文献
  • |
  • 相似文献
  • |
  • 引证文献
  • |
  • 资源附件
  • |
  • 音频文件
  • |
  • 视频文件
    摘要:

    背景与目的 输液港作为完全植入式静脉通路广泛用于长期输液患者,但传统蝶翼针穿刺固定方式存在成功率偏低、疼痛感强及针刺伤风险等问题。本研究旨在设计一种可调式输液港蝶翼针穿刺保护套件,并通过模拟器具在临床实践中验证其应用效果。方法 采用前瞻性随机对照设计,纳入2024年1月—12月在中南大学湘雅医院血液科植入上臂输液港的70例患者,通过随机区组法将患者分为试验组和对照组,各35例。试验组使用模拟的可调式保护套件穿刺,对照组采用传统手指固定法。比较两组在一次性穿刺成功率、垂直穿刺率、穿刺时疼痛评分、穿刺用时及穿刺后并发症发生率等方面的差异。结果 两组患者基线特征均衡。试验组一次性穿刺成功率和垂直穿刺率明显高于对照组(94.3% vs. 77.1%;91.4% vs. 57.1%,均P<0.05);试验组疼痛评分低于对照组(1.80±1.13 vs. 2.94±1.33,P<0.05)、穿刺用时短于对照组[(31.31±9.05)s vs.(41.80±23.97)s,P<0.05]。两组穿刺后并发症发生率差异无统计学意义(2.9% vs. 14.3%,P>0.05)。结论 模拟的可调式输液港蝶翼针穿刺保护套件可显著提高穿刺成功率与效率,降低患者疼痛,具有良好的安全性与临床应用价值。其创新设计为减少针刺伤风险、提升护理操作质量提供了新思路,但仍需进一步扩大样本量、多中心及长期随访验证。

    Abstract:

    Background and Aims Totally implantable venous access ports (TIVAP) are widely used in patients requiring long-term intravenous therapy. Traditional butterfly needle puncture fixation methods have limitations, including low success rates, increased pain, and risk of needle-stick injury. This study aimed to design an adjustable puncture protection kit for butterfly needles and evaluate its clinical utility using a simulated device.Methods A prospective randomized controlled trial was conducted with 70 patients implanted with upper arm ports in the Hematology Department of Xiangya Hospital, Central South University, from January to December 2024. The patients were divided into a study group and a control group, with 35 cases in each, using a randomized block design. The study group underwent puncture with the simulated adjustable protection kit, while the control group used the traditional finger fixation method. Outcomes compared included first-attempt success rate, vertical puncture rate, pain score, puncture time, and complication rate.Results The baseline characteristics of the two groups were balanced. The study group had significantly higher first-attempt puncture success rate and vertical puncture rate than the control group (94.3% vs. 77.1%; 91.4% vs. 57.1%, both P<0.05). In the experimental group compared with the control group, pain scores were lower (1.80±1.13 vs. 2.94±1.33, P<0.05), and puncture time was shorter [(31.31±9.05) s vs. (41.80±23.97) s, P<0.05]. There was no significant difference in the incidence of puncture-related complications between the two groups (2.9% vs. 14.3%, P>0.05).Conclusion The simulated adjustable butterfly needle puncture protection kit effectively improves puncture success, enhances efficiency, reduces patient pain, and demonstrates good clinical safety. This innovative design provides a promising solution for reducing needle-stick injury risks and optimizing port puncture procedures, although larger, multicenter, and long-term studies are warranted.

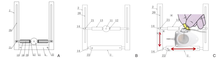
    图1 可调式输液港蝶翼针穿刺保护套件结构示意图 A:拉起由21、13、14、23、12、11组成的可调节的横版;B:根据港座大小,使港座位于两横版中心位置;C:护理人员主力手持蝶翼针在中心位置垂直插入Fig.1 Schematic diagram of the adjustable butterfly needle puncture protection kit for TIVAP A: Lift the adjustable horizontal plate composed of elements 21, 13, 14, 23, 12, and 11; B: Position the port body at the center between the two horizontal plates according to its size; C: The nurse holds the butterfly needle with the dominant hand and inserts it vertically at the center position
    图2 模拟的输液港蝶翼针穿刺保护套件及固定方法 A:裁剪的20 mL注射器柄套尾部作为模拟输液港蝶翼针穿刺保护套件;B:在模拟输液港蝶翼针穿刺保护套件圆心处垂直穿刺Fig.2 Simulation of the butterfly needle puncture protection kit for TIVAP and its fixation method A: The tail end of a 20 mL syringe plunger is trimmed and used as a simulated butterfly needle puncture protection kit; B: The needle is inserted vertically through the center of the simulated protection kit
    图3 手指固定法(左手拇指、食指和中指固定港体,右手持蝶翼针从港体中心垂直插入)Fig.3 Finger stabilization method (The port body is stabilized with the thumb, index, and middle fingers of the left hand, while the butterfly needle is held with the right hand and inserted vertically into the center of the port body)
    参考文献
    相似文献
    引证文献
引用本文

刘琼,陈浩东,丁小芳,罗旺辉,唐诗惠,龚苏苏,许诺,陈焱.创新型可调式输液港蝶翼针穿刺保护套件的临床应用效果[J].中国普通外科杂志,2025,34(7):1481-1488.
DOI:10.7659/j. issn.1005-6947.250344

复制
文章指标
  • 点击次数:
  • 下载次数:
历史
  • 收稿日期:2025-04-09
  • 最后修改日期:2025-07-15
  • 录用日期:
  • 在线发布日期: 2025-09-02